En 1914, los franceses Alphonse Papin y Didier Rouilly construyeron un inusual aparato volador, el Chrysalide (Giróptero), basándose en la semilla de arce. Su diseño único buscaba innovar en la aviación.
Concepto Innovador
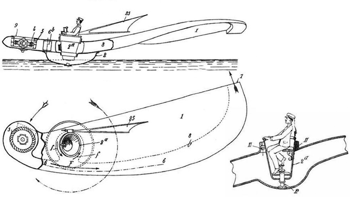
La única pala del aparato, de nueve metros, se equilibraba con un motor rotativo. Este motor, girando a 1200 revoluciones por minuto, accionaba un ventilador que impulsaba aire hacia la pala. El aire, mezclado con los gases de escape del motor, salía por una tobera situada en la parte trasera del extremo de la pala a 100 metros por segundo, lo que la ponía en movimiento.
Desarrollo y Controles
La pala y el motor giraban alrededor de una góndola central donde se encontraba el piloto. El piloto controlaba el aparato mediante dos pedales: uno regulaba el suministro de aire a la pala y el otro la propulsión de una tobera giratoria adicional en forma de L. Esta tobera se encargaba de estabilizar la góndola central y también proporcionaba el movimiento de traslación de todo el giróptero.
Pruebas y Fracaso
El inicio de la Primera Guerra Mundial impidió el comienzo de las pruebas, que finalmente se iniciaron el 31 de marzo de 1915 en el lago Cercey. El giróptero resultó tener un sobrepeso de 100 kilogramos y, además, se instaló un motor Le Rhone de ochenta caballos en lugar del previsto de cien. Como resultado, solo se logró una velocidad de rotación de la pala de 47 revoluciones por minuto, en lugar de las 60 requeridas para el despegue.
El aparato también resultó estar desequilibrado; la pala golpeaba la superficie del agua al girar y sufrió graves daños. Los militares se negaron a realizar más pruebas, y el Chrysalide fue vendido como chatarra en 1919. A pesar de su fracaso, el Chrysalide fue, en esencia, el primer monocóptero y helicóptero a reacción en la historia de la aviación.
Especificaciones Técnicas
| Modificación | Chrysalide |
| Longitud de la pala del rotor, m | 9.00 |
| Peso normal al despegue | 500 |
| Tipo de motor | 1 Motor de pistón Rhone |
| Potencia, CV | 1 x 80 |
| Tripulación, tripulantes | 1 |






